
|
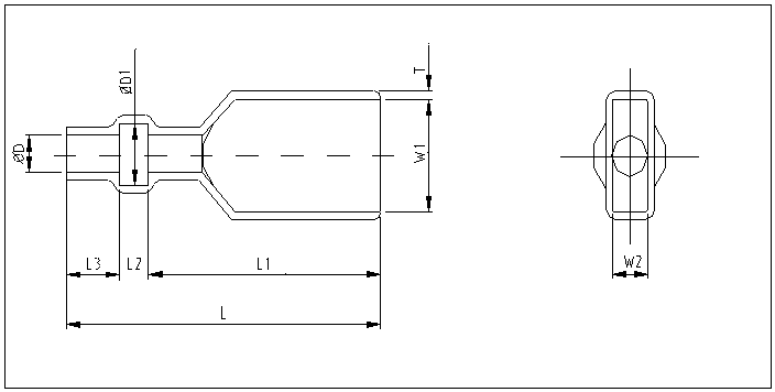
PART NO. |
W1 |
W2 |
D |
L |
l 1 |
l 2 |
l 3 |
t |
|
ST110-15-23 |
4.0 |
1.8 |
1.5 |
23 |
15.5 |
2.5 |
5.0 |
0.8 |
|
ST110-20-23 |
4.0 |
1.8 |
2.0 |
23.0 |
15.5 |
2.5 |
5.0 |
0.8 |
|
ST110-25-23 |
4.0 |
1.8 |
2.5 |
23.0 |
15.5 |
2.5 |
5.0 |
0.8 |
|
ST110-30-23 |
4.0 |
1.8 |
3.0 |
23.0 |
15.5 |
2.5 |
5.0 |
0.8 |