醫學測量與儀器 平時考四技部(三)

 

1.請描述EEG的三種紀錄模式.

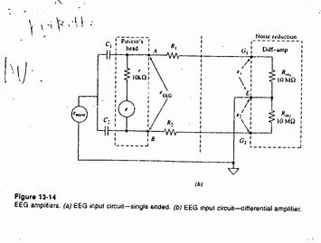
2.由圖13.14(b)和13.15(b)做下列問題(a)R8作用為何?(b)輸入最小頻率為何?(c)若

e=e-e=100uVe=?(d)e

CMRR=?CMRR=?

3.由圖14.3說明如何由ECG來顯示BPM.

4.由圖14.6說明此電路之功能與動作原理.